It’s been a little over a year since the High Court of Australia’s surprising 3:3 split judgment in Aristocrat v Commissioner of Patents [2022] HCA 29 (Aristocrat ’22) relating to manner of manufacture and in particular the patentability of computer implemented inventions.
The result of the split High Court judgment is that the Full Court decision in Commissioner of Patents v Aristocrat [2021] FCAFC 202 (Aristocrat ’21) still stands. In the view of the Australian Patent Office, the High Court has therefore also affirmed the correctness of decisions in Research Affiliates, RPL Central, Rokt and Encompass – meaning it is “business as usual” for the treatment of computer implemented inventions in Australia.
However, a recent judgment in an infringement matter before the Federal Court in UbiPark v TMA Capital has potentially provided some positive guidance concerning the patentability of computer implemented inventions – particularly for inventions where there is a physical or tangible result.
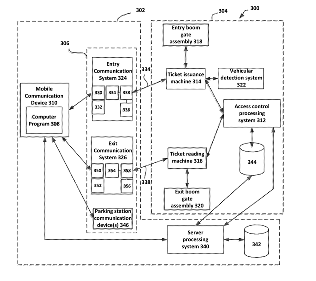
The invention in UbiPark related to a system, method, mobile communication device and one or more computer programs for an access control system for controlling access to a restricted area (typically a parking lot). The respondent raised manner of manufacture as a ground of attack on the validity of the patent.
Interestingly, in his judgment at [196] to [208], Moshinsky J noted Aristocrat ‘22 and Aristocrat ’21, and the other relevant authorities (Myriad, Research Affiliates, RPL Central and Encompass for example), but his honour then distinguished UbiPark at [207] noting:
The authorities on which UbiPark relies, in which it was held that particular computer-implemented schemes were not patentable subject matter, are distinguishable. Unlike this case, those cases were concerned with mere schemes or abstract ideas implemented on computers, which were not otherwise tied to the doing of any physical thing or the creation of any physical or tangible result. In the present case, a useful physical or tangible result is achieved, aside from the fact of the use of computers to implement the invention.
Notably, the “physical thing or the creation of any physical or tangible result” in UbiPark was the opening of the entry barrier and exit barrier, and this was very much central to the operation of the invention.
This judgment may be useful to applicants where a manner of manufacture issue has been raised before the Australian Patent Office, to the extent that the applicant can fairly map their invention to the fact scenario in UbiPark such that it provides a physical thing or the creation of any physical or tangible result.
It is important to note that simply bolting on a physical step at the end of a claim may not be of much assistance – rather, the “physical thing or the creation of any physical or tangible result” would likely need to be central to the operation of the invention.
Ideally, manner of manufacture issues can be avoided or at least ameliorated with a well detailed patent specification that clearly highlights a genuine technical problem being solved.
It will be interesting to see if the respondent seeks leave to appeal to the Full Federal Court and whether Moshinsky J’s view on manner of manufacture is upheld.

